+7 (912)-751-33-24Заказать звонок
Заказать звонок

Оставьте Ваше сообщение и контактные данные и наши специалисты свяжутся с Вами в ближайшее рабочее время для решения Вашего вопроса.

Ваш телефон
Ваш телефон*
Ваше имя
Ваше имя

* - Поля, обязательные для заполнения

Сообщение отправлено
Ваше сообщение успешно отправлено. В ближайшее время с Вами свяжется наш специалист
Закрыть окно
arbatex@list.ru
Каталог товаров
Подписка на новости магазина

Подпишитесь на рассылку и получайте свежие новости и акции нашего магазина.

Описание товара:

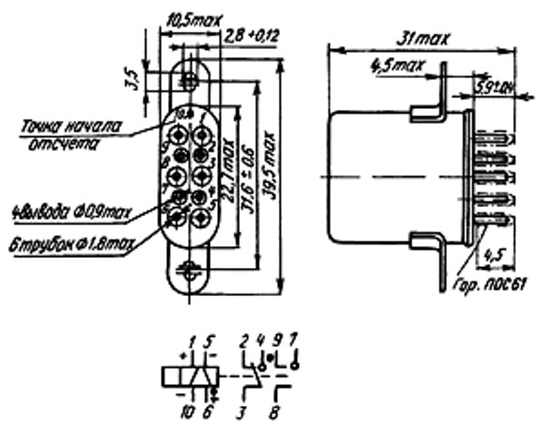
РПС32Б РС4.520.217 реле герметичное, поляризованное, двухпозиционное, двустабильное, с двумя переключающими контактами, служит для замыкания и размыкания различных участков электрических цепей при заданных изменениях электрических или неэлектрических входных величин. реле применяется в различных областях приборостроения, радиоэлектронной промышленности и других сферах.
115 руб. / шт Цена не является конечной и требует уточнения у менеджера.
В наличииВ наличии
Загрузка
Рассчитываем стоимость доставки
Пожалуйста подождите, рассчет займет немного времени

Описание товара

Описание Реле РПС32Б РС4.520.217


РПС32Б РС4.520.217 реле герметичное, поляризованное, двухпозиционное, двустабильное, с двумя переключающими контактами, служит для замыкания и размыкания различных участков электрических цепей при заданных изменениях электрических или неэлектрических входных величин. реле применяется в различных областях приборостроения, радиоэлектронной промышленности и других сферах.

Параметры и характеристики Реле РПС32Б РС4.520.217:


Ток питания обмотки - постоянный.
Сопротивление изоляции между токоведущими элементами, между токоведущими элементами и корпусом, МОм, не менее:
  - в нормальных климатических условиях (обмотки обесточены) - 200 
  - при максимальной температуре (после выдержки под рабочим напряжением) - 20
  - в условиях повышенной влажности - 10
Испытательное переменное напряжение между токоведущими элементами, между токоведущими элементами и корпусом, В:
  - в нормальных климатических условиях - 500
  - в условиях повышенной влажности - 300
  - в условиях пониженного атмосферного давления - 180
Время суммарного нахождения обмотки под напряжением при максимальной температуре 100 ч. 
Скважность включения не менее 5. 
Длительность импульса, подаваемого на обмотку, не менее 0,025 с. 
Время срабатывания при минимальном рабочем напряжении не более 5 мс.

Параметры:


Номер паспорта реле
РПС-32Б
Количество групп контактов Рабочее напряжение Сопротивление обмотки Напряжение Время Сопротивление контактов Диапазон
коммутации
срабатывания отпускания срабатывания отпускания ток напряжение
В Ом В В мс мс Ом А В
РПС-32Б РС4.520.201-01 2,2…2,9 4,5…5,5 0,6…1,1 - <5 - 1,5 5x10-3…3,0 6…220
РПС-32Б РС4.520.202-01 3,6…4,8 13,5…16,5 1…2,2 - <5 - 1,5 5x10-3…3,0 6…220
РПС-32Б РС4.520.203-01 5,4…7,2 22,5…27,5 1,6…3,2 - <5 - 1,5 5x10-3…3,0 6…220
РПС-32Б РС4.520.204-01 9…12 64…86 2…5 - <5 - 1,5 5x10-3…3,0 6…220
РПС-32Б РС4.520.205-01 10,8…14 92…126 3,2…6,4 - <5 - 1,5 5x10-3…3,0 6…220
РПС-32Б РС4.520.206-01 13,5…18 149…201 3,7…7,5 - <5 - 1,5 5x10-3…3,0 6…220
РПС-32Б РС4.520.207-01 18…24 264…356 6…12 - <5 - 1,5 5x10-3…3,0 6…220
РПС-32Б РС4.520.208-01 24…32 425…575 8…16 - <5 - 1,5 5x10-3…3,0 6…220
РПС-32Б РС4.520.209-01 2,2…2,9 4,5…5,5 0,6…1,1 - <5 - 0,25 5x10-6…0,1 0,05…115
РПС-32Б РС4.520.210-01 3,6…4,8 13,5…16,5 1…2,2 - <5 - 0,25 5x10-6…0,1 0,05…115
РПС-32Б РС4.520.211-01 5,4…7,2 22,5…27,5 1,6…3,2 - <5 - 0,25 5x10-6…0,1 0,05…115
РПС-32Б РС4.520.212-01 9…12 64…86 2…5 - <5 - 0,25 5x10-6…0,1 0,05…115
РПС-32Б РС4.520.213-01 10,8…14 92…126 3,2…6,4 - <5 - 0,25 5x10-6…0,1 0,05…115
РПС-32Б РС4.520.214-01 13,5…18 149…201 3,7…7,5 - <5 - 0,25 5x10-6…0,1 0,05…115
РПС-32Б РС4.520.215-01 18…24 264…356 6…12 - <5 - 0,25 5x10-6…0,1 0,05…115
РПС-32Б РС4.520.216-01 24…32 425…575 8…16 - <5 - 0,25 5x10-6…0,1 0,05…115
РПС-32Б РС4.520.217-01 2,2…2,9 4,5…5,5 0,6…1,1 - <5 - 1,0 5x10-3…3,0 6…220
РПС-32Б РС4.520.218-01 3,6…4,8 13,5…16,5 1…2,2 - <5 - 1,0 5x10-3…3,0 6…220
РПС-32Б РС4.520.219-01 5,4…7,2 22,5…27,5 1,6…3,2 - <5 - 1,0 5x10-3…3,0 6…220
РПС-32Б РС4.520.220-01 9…12 64…86 2…5 - <5 - 1,0 5x10-3…3,0 6…220
РПС-32Б РС4.520.221-01 10,8…14 92…126 3,2…6,4 - <5 - 1,0 5x10-3…3,0 6…220
РПС-32Б РС4.520.222-01 13,5…18 149…201 3,7…7,5 - <5 - 1,0 5x10-3…3,0 6…220
РПС-32Б РС4.520.223-01 18…24 264…356 6…12 - <5 - 1,0 5x10-3…3,0 6…220
РПС-32Б РС4.520.224-01 24…32 425…575 8…16 - <5 - 1,0 5x10-3…3,0 6…220

Добавить отзыв
Ваша оценка:
Отправить отзыв

Похожие товары (8)

115 руб. / шт Цена не является конечной и требует уточнения у менеджера.
В наличииВ наличии
РПС32Б РС4.520.217
Задать вопрос

Ваше имя*
Контактный телефон*
E-mail
Вопрос*

* - Поля, обязательные для заполнения

Сообщение отправлено
Ваше сообщение успешно отправлено. В ближайшее время с Вами свяжется наш специалист
Закрыть окно
Купить в один клик
Заполните данные для заказа
Запросить стоимость товара
Заполните данные для запроса цены
Запросить цену Запросить цену